prev
REES 02005-610
REESzoom
brand:
manufacturer:
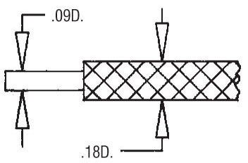
Description:
Covered Steel Cable