prev
REES 02005-614
REESzoom
brand:
manufacturer:
Description:
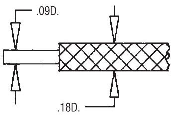
Covered Steel Cable